Circuit Diagram Positive Negative

Get Circuit Diagram Positive Negative Images. It becomes relevant if you get right into the. A single cell or other power source is represented by a long and a short parallel line.

Negative Feedback, Part 4: Introduction to Stability ...
Negative Feedback, Part 4: Introduction to Stability ... from www.allaboutcircuits.com
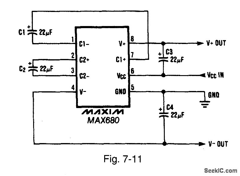
There are some design restrictions that the engineer must observe in another application note (36594) from maxim presents a charge pump converter circuit that for some applications in which only a positive supply is available, the system must generate a negative. You ask why it says electrons flowing opposite to the conventional current. Some circuit symbols used in schematic diagrams are shown below.

The zero sequence component need not be the same as them.

Some circuit symbols used in schematic diagrams are shown below. These diagrams are drawn using standard industrial symbols. The common convention we use is from the positive to the negative terminal. The square will have a positive peak and +0.


Belum ada Komentar untuk "Circuit Diagram Positive Negative"

Posting Komentar

Iklan Atas Artikel

Iklan Tengah Artikel 1

Iklan Tengah Artikel 2

Iklan Bawah Artikel